Aduro Smart Response
Vuoi ottenere la combustione più pulita possibile?
E diffondere meno fumo nel quartiere?
Desiderate più calore a un prezzo conveniente e la resa ottimale della vostra legna da ardere?
E allo stesso tempo dedicare meno tempo alla gestione del focolare?
Grazie alla ricerca di Aduro da oggi potrai utilizzare la tecnologia brevettata di Aduro Smart Response indipendentemente dalla di stufa a Legna che possiedi.
Con Aduro Smart Response, il tuo smartphone o tablet diventa un centro di controllo personale che ti aiuterà a raggiungere la combustione ottimale e ottenere il massimo rendimento dalla tua stufa. Aduro Smart Response è un dispositivo wireless con due sensori che comunica dati in tempo reale attraverso la App per il tuo telefono o tablet. ASR si connette attraverso tecnologia Bluetooth mostrando sullo schermo la temperatura, quando inserire nuova legna e la durata prevista della combustione. Aduro Smart Response ti guiderá verso un utilizzo ottimale della tua legna, per un riscaldamento corretto ed ecologico.
Con Aduro Smart Response, potrai godere del calore del fuoco con la sicurezza di usare la stufa senza sprechi, risparmiando tempo e denaro.
Come funziona?
Grazie ai numerosi test condotti in collaborazione con il Danish Technological Institute Aduro ha raccolto i dati più importanti relativi alla combustione e li ha elaborati in un algoritmo per portare i segreti per una combustione ottimale direttamente sullo schermo del tuo smartphone o tablet.
Per garantirti dati sempre affidabili, durante l’installazione sarà necessario inserire alcuni dati sulla tua stufa a legna (consulta il manuale di istruzioni o l’etichetta della tua stufa).
La App ti fornirá tutti i dati e i trucchi necessari per usare al meglio la tua stufa e ti notificherà sullo stato della combustione in tempo reale (informandoti ad esempio quando è necessario ricaricare la legna). Grazie alla sua funzione smart, la precisione di Aduro Smart Response aumenta con la frequenza di utilizzo.
La temperatura mostrata dall'applicazione potrebbe differire dalla misurazione effettuata con altri mezzi. Aduro Smart Response elabora il dato rilevato attraverso un algoritmo che stima la temperatura dei fumi in canna fumaria.
In ASR troverai inoltre guide interattive sul mondo del riscaldamento a legna ed un sistema che analizza i tuoi progressi e ti permette di comparare I tuoi risultati con quelli di migliaia di clienti in tutto il mondo.
Aduro Smart Response é compatibile con:
- iPhone (5th gen. o successivi)
- iPod Touch 6th gen. o successivi
- iPad 4th gen.
- Android (v.5.0 e successive)
Apple iOS: Qualunque modello di Stufa a Legna. Attenzione: per effettuare l’installazione é necessario avere accesso allo scarico fumi della stufa.
Nella confezione troverete:
- Dispositivo senza fili (Bluetooth) con 2 sensori magnetici.
- Istruzioni per l’uso e di montaggio.
- Funziona con 3 batterie AAA (non incluse).
- Download gratuito dell’applicazione.
Trasmissione dati:
Bluetooth Low Energy
Aduro Smart Response é un dispositivo brevettato.
Come installare ASR
Nell'app troverai una guida esatta per posizionare la scatola del sensore e il sensore di temperatura su tutti i modelli Aduro.
Se si installa Aduro Smart Response su modelli diversi da Aduro vedere di seguito:
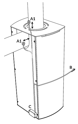
Il dispositivo Aduro Smart Response si fissa facilmente alla stufa utilizzando soltanto I magneti inclusi nella confezione. I sensori, collegati al dispositivo via cavo possono essere posizionati in modo che il cavo risulti nascosto durante l’utilizzo della stufa. Il sensore per la temperatura va disposto mantenendo la “distanza A” (10cm) (ved. Grafico).
L'interruttore B può essere posizionato dove ritieni che sia più adatto. Deve essere attivato ogni volta che si inserisce la legna nella stufa. Può essere attivato con il dito, con un ammortizzatore oppure con la porta. È tutto nel manuale che trovi sull'app.

Dansk
Deutsch
English
Français
Dutch
Norsk
Suomi
Svenska
Español
Italiano



